Особенности приборов для анализа газа
Газоанализатор — это прибор для определения количественного и качественного состава газовой смеси. Так говорит наука. Широкое распространение получили ручные абсорбционные анализаторы, в которых реагенты постепенно поглощают составляющие газа. Автоматические устройства в постоянном режиме определяют физические и физико-химические величины смесей и их компонентов.
Анализаторы газа делят на 3 группы. Все приборы действуют на физических методах анализа, а различие выражается в возможности учитывать химические процессы.
Сигма-03 — стационарный многоканальный анализатор с отдельными блоками и модулями, среди которых инфоблок СИГМА-03.ИПК, в комплекте также идут выносливые датчики в количестве до 8
Приборы 1-го типа мониторят в том числе сопутствующие химические реакции. Анализаторы определяют изменения в давлении топливной смеси и ее объеме после химического взаимодействия между составляющими.
Газоанализаторы 2-го типа выдают показатели физического анализа, который распространяется на хроматографические, фотоионизационные, электрохимические, термохимические и другие физические и физико-химические процессы.
Устройства 3-го типа работают только по принципу физического анализа. Методы измерения у них бывают магнитные, денсиметрические, термокондуктометрические и оптические.
Приборы для анализа газовых смесей также классифицируют:
- по назначению;
- по числу измерительных каналов;
- по количеству измеряемых компонентов;
- по конструкции;
- по функционалу.
Стоит подробнее знать об устройствах, различающихся по последнему признаку. Газоанализаторы выполняют функции обычных измерительных приборов, а также сигнализаторов, течеискателей, индикаторов.
Сферы применения газоанализаторов
Измерители для газа используют на взрывоопасных объектах, котлах ТЭЦ, предприятиях химической промышленности, транспортных средствах. Анализаторы также применяют перед огневыми работами в колодцах и подвалах.
Взрывоопасные газы несут особую угрозу в замкнутом и узком пространстве — вот почему газоанализаторы оказываются незаменимыми перед огневыми работами в подвалах и колодцах
Приборы приносят пользу владельцам газового, вакуумного и холодильного оборудования: благодаря измерителям определяют негерметичность, утечки, концентрацию горючих газов. Медики с помощью газоанализаторов следят за концентрациями в дыхательном контуре во время обезболивающих процедур. В сфере охраны природы этим приборам тоже нашли полезное применение.
Подробнее о принципе работы газового анализатора читайте в этом материале.
Как производится поверка
Поверка манометров – это выявление несоответствий или установление соответствия показаний прибора действительным. Для выявления данного соответствия производится снятие показаний с устройства и сравнение их с показаниями эталонного манометра. После сопоставления данных выявляется возможность дальнейшего применение прибора. Если показатели манометра соответствуют нормативным, устанавливается отметка о проведении поверки, и он используется далее. Если в процессе манипуляций выявлены сильные погрешности в показаниях, прибор калибруется. Если же показатели сильно отличимы от действительных и калибровкой решить проблему не удается, то прибор утилизируется и больше не применяется. Такой прибор считается не поверенным и использоваться не может.
В случае положительного результата поверки на стекло прибора или его корпус ставится небольшой штамп, где указан год и месят совершения данной операции. Аналогичная отметка делается в техническом паспорте устройства. Выполнять поверку может только специальная лицензированная организация, поднадзорная контролирующим органам. Она же имеет право устанавливать штамп о совершении процедуры. Представитель организации должен снять манометры и принести на место проведения поверки.
Обслуживание датчиков загазованности. Требования к обслуживанию, ремонту, поверке сигнализаторов загазованности (поверке газосигнализаторов, поверке газоанализаторов).
• Обслуживание и ремонт приборов контроля проводятся в порядке и в сроки, предусмотренные технической документацией завода-изготовителя на эти приборы.
• Тестирование и проверки приборов должны осуществляться по методике завода-изготовителя.
• Один раз в год необходимо осуществлять государственную поверку газосигнализаторов, газоанализаторов, сигнализаторов контрольными смесями на уровнях срабатывания. В том числе должна производится поверка датчика угарного газа и поверка датчика метана.
• Ремонт и обслуживание приборов контроля должны осуществляться обученным персоналом, прошедшим аттестацию в квалификационной комиссии специализированной организации или завода-изготовителя. Участие представителя органа Ростехнадзора России в работе комиссии по аттестации названного персонала не обязательно.
• По окончании срока службы прибора (датчика) контроля загазованности проводится его диагностика в целях установления возможности дальнейшей эксплуатации или замены.
• Персонал котельной должен ежесменно удостоверяться в работоспособности приборов контроля с отметкой в вахтенном журнале.
Многие предприятия, эксплуатирующие топливоиспользующее тепловое оборудование, уже на стадии проекта требуют наличия в цехе достаточного количества сигнализаторов на СО и СН4 для гарантии безопасности работы агрегатов и обслуживающего персонала.
Датчик загазованности, газосигнализатор, газоанализатор, сигнализатор токсичных газов, сигнализатор горючих газов, обслуживание датчиков загазованности.
Вполне вероятно, что вы сталкивались с государственным контролем за газовыми приборами. Возможно, вы предприниматель, и для вас имеют значение даже самые незначительные аспекты, связанные с расходами? Мы полагаем, что правила поверки газоанализаторов знает очень малое количество населения, а между тем, неудачно выбранный прибор в итоге обойдется в десятки тысяч рублей переплаты.
Мы попытались собрать всю полезную информацию воедино. Речь идет о всех ключевых моментах: нормах, периодичности, этапах поверок. Вы основательно подойдете к выбору газоанализатора, если прочтете изложенный нами материал.
Анализаторы газа подпадают под государственное регулирование, так как обеспечивают безопасность на объектах из разных сфер деятельности человека. Касается это в первую очередь поверок, которые выполняют, чтобы убедиться в соответствии метрологическим характеристикам. Давайте вместе разберемся, как проводятся поверочные мероприятия.
Периодичность поверки манометров
Манометр представлен прибором, который осуществляет измерение давления в аппарате или емкости, на определенном участке трубопровода. Периодическая проверка позволяет избежать основных проблем. Стоит учитывать, что поверка манометров должна проводится исключительно с учетом разновидности устройства:
- Мембранные.
- Спиральные.
Для того чтобы калибровка манометров была проведена с высокой эффективностью, следует уделить внимание их конструктивным особенностям. Спиральные характеризуются следующим особенностями:
- Внутри корпуса расположена спираль, которая связана с передающим элементам. Она изготавливается при применении специального металла с высокой упругостью.
- Циферблат соединен со спиралью, за счет проводится смена положения стрелки. Циферблат работает по механическому принципу, представлен шкалой со стрелкой. Как правило, на поверхности отображаются единицы измерения и другая более важная информация.
- При повышении давления проводится раскручивание спирали, за счет чего стрелка отклоняется в большей степени. От размеров этого элемента зависит диапазон, в котором могут проводится измерения.
Мембранные варианты исполнения функционируют за счет плоской пластины, которая связана с передающим элементом. При повышении давления мембрана прогибается в большей степени, за счет чего стрелка смещается.
Периодичность проведения поверки зависит от самых различных моментов, в том числе области применения устройства. В некоторых случаях нужно проводить процедуру один раз в год, в других на протяжении 5 лет. Входной контроль проводят многие организации с выездом на объект, так как в некоторых случаях процедуру должен проводить сертифицированный специалист и с учетом предъявляемого требования к обработке.
За счет этого точность показаний манометра находятся на высоком уровне.
Сегодня госповерку проводят при контроле состояния измерительных приборов ответственных систем. Расшифровываются полученные данные самым различным образом, поэтому процедура проводится исключительно специалистом.
100.
(2)
где 0е — верхняя граница диапазона измерений массовой концентрации (объемной доли), для которого нормированы пределы допускаемой приведенной погрешности, мг/м3 (млн-1).
10.1.3 Значение основной относительной погрешности газоанализаторов %. рассчитывают по формуле
6.=£l^-100- (3)
10.1.4 Результаты определения погрешности газоанализатора считают положительными, если полученные значения погрешности (по модулю) в каждой точке поверки не превышают пределов допускаемой погрешности, установленных при утверждении типа СИ и указанных в ЭД газоанализаторов.
10.2 По результатам измерений, полученным по 9.3.2. рассчитывают значение абсолютной, приведенной или относительной вариации показаний, в зависимости от того, какая погрешность нормирована для данной точки поверки.
10.2.1 Значение абсолютной вариации показаний ол, мг/м3 (млн-‘). рассчитывают по формуле
ид=С*-С4и,
гдеС^. С“ — измеренное значение массовой концентрации (объемной доли) озона при подаче ГС Ns 4
при подходе к точке поверки со стороны больших и меньших значений соответственно. мг/м3 (млн-1).
6
ГОСТ Р 8.924—2016
10.2.2 Значение приведенной вариации показаний газоанализаторов иг, %. рассчитывают по формуле
и.
(5)
10.2.3 Значение относительной вариации показаний газоанализаторов , %, рассчитывают по формуле
о
100.
(6)
10.2.4 Результаты определения вариации считают положительными, если полученные значения вариации не превышают пределов допускаемой вариации показаний, установленных при утверждении типа СИ и указанных в ЭД газоанализаторов.
10.3 По результатам измерений, полученным по 9.3.3 настоящего стандарта, рассчитывают время установления показаний газоанализаторов Г. с. ло формуле
j — Г,+ Гп> (7)
2
10.3.1 Результаты определения времени установления показаний считают попожительными. если полученное значение времени не превысило предела допускаемого времени установления пока* заний по уровню 0.9, установленного при утверждении типа СИ и указанного в ЭД газоанализаторов.
11 Оформление результатов поверки
11.1 При положительных результатах первичной или периодической поверки газоанализатор признают годным к применению и выписывают на него свидетельство о поверке установленной формы согласно [6). Рекомендуемая форма протокола поверки газоанализаторов приведена в приложении 8.
При первичной поверке до ввода в эксплуатацию допускается вместо оформления свидетельства о поверке наносить знак поверки (оттиск клейма) в паспорт газоанализатора.
При наличии соответствующих требований в ЭД газоанализатора на корпус газоанализатора наносят знак поверки (оттиск клейма), место нанесения знака поверки указано в описании типа СИ и ЭД газоанализатора.
11.2 При отрицательных результатах первичной или периодической поверки газоанализатор признают непригодным к применению, свидетельство о поверке аннулируют, выдают извещение о непригодности установленной формы согласно [6) сукаэанием причин непригодности.
7
ГОСТ Р 8.924—2016
Приложение А
(обязательное)
Метрологические характеристики ГС, используемых при поверке газоанализаторов
Таблица А.1 — Метрологические характеристики ГС. используемых при поверке газоанализаторов
Номер ГС | Номинальное значение массовой концентрации {объемной доли} озона а ГС. подаваемой на вход газоанализатора, пределы допускаемого отклонения, мг.’м1 (млн»1) |
ГС N9 1 | |
ГС Nb 2 | 0.0301 0.010 {0.015 1 0.005) |
ГС N9 3 | 0.10 1 0.02 (0.0510.01) |
ГС №4 | (0.510.1) С. |
ГС N9 5 | (0.910.1) С. |
Примечание — С„ — | верхняя границе диапазона измерений газоанализаторов |
8
Приложение Б
(рекомендуемое)
ГОСТ Р 8.924—2016
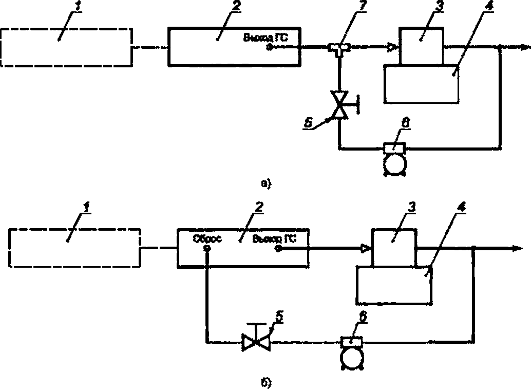
Схемы подачи ГС на газоанализаторы при проведении поверки


6)
Г — генератор нулевого воздуха (используется в комплекте с калибратором тазовых смесей). ? — генератор озона или калибратор газовых смесей: 3 — поверяемый газоанализатор:^ — тройни» из фторопласта или стекла
Рисунок Б.1 — Газовая схема для подачи ГС на газоанализаторы с принудительным отбором пробы (а — для генераторов или квлибрвторов без выхода сброса излишков ГС. б — для генераторов или калибраторов с выходом сброса излишков ГС)
9
ГОСТ Р 8.924—2016

1 — генератор нулевого воздуха (используется а комплекте с калибратором газовых смесей): 2 — генератор озона или калиб-рагор газовых смесей: 3 — насадка дпя подачи ГС на поверяемый газоанализатор: 4 — поверяемый газоанализатор:
S — вентиль тонкой регулировки: 6 — вспомогательный побудитель расхода: ? — тройник из фторопласта или стекла
Рисунок Б.2 — Газовая схеме для подвчи ГС не газоанализаторы сдиффузионныы отбором пробы (а — для генераторов или калибраторов без выхода сброса излишков ГС. б — для генераторов или калибраторов с выходом сброса излишков ГС)
10
ГОСТ Р 8.924—2016
I
I
I
Лаборатория поверки газоанализаторов
Метрологическая служба КПО-Электро в течение многих лет предоставляет услуги по первичной и периодической поверке газоаналитического оборудования и калибровке всех видов приборов, включающих в себя стационарные, переносные и портативные газоаналитические средства измерений (газоанализаторы, газосигнализаторы, детекторы и датчики) для контроля содержания концентрации одного или нескольких веществ в воздухе или газовых средах.
Компания имеет собственную лабораторию, оснащенную новейшим оборудованием, в которой работают специалисты, имеющие многолетний опыт работы с газоаналитическими приборами любой сложности.
Метрологическая служба компании КПО-Электро оказывает полный спектр услуг для пользователей отечественных и импортных производителей, таких как:
- Draeger/Дрегер (различные модели серий Pac, X-am, Polytron, PIR, PEX и др.)
- Honeywell Analytics (BW GasAlert, ToxiRAE Pro, MultiRAE, MultiRAE Pro, MultiRAE Lite, QRAE 3, Searchpoint Optima Plus, XNX, Аpex, Satellite ХТ и др.)
- Электронстандарт-Прибор (СГОЭС, ССС-903 и др.)
- Аналитприбор (АНКАТ-7664Микро, СТМ-30М, ДАХ, ДАК и др.)
- Oldham (OLC/OLCT, CTX, MX 2100, BM 25 и др.)
- Net Safety Monitoring (Emerson) (Millennium II, Millennium II Basic)
- MSA (ULTIMA X, PrimaX, ALTAIR и др.)
- Эрис (ПГ ЭРИС-411, ПГ ЭРИС-414, ДГС ЭРИС-210, ДГС ЭРИС-230 и др.)
- Detcon (IR-700, TP-700, FP-700 и др.)
- Seitron (RGD, SGY, SGW и др.)
- Bertoldo (Domino)
- НПП “Дельта” (ИГС-98, Сенсис)
Поверка газоанализаторов и калибровка стационарных и переносных газоанализаторов осуществляется исключительно с применением методик, одобренных и разрешенных для использования со стороны профильных организаций государственного контроля.
Результатом поверки средства измерения является предоставление заказчику поверенного газоанализатора, допущенного к применению, с выдачей свидетельства о поверке установленного образца. В случае выявления несоответствия утвержденным техническим характеристикам возможно осуществление настройки и/или ремонта изделия.
Быстро, надежно, недорого…
Компанией «КПО-Электро» была разработана максимально удобная и продуманная схема работы, которая является абсолютно понятной, удобной и выгодной для заказчиков.
Работая с нами у вас всегда есть возможность:
- проведения срочной поверки газоанализаторов на вашей территории;
- выбора способа доставки приборов на поверку и возврата их на место эксплуатации;
- получения услуг персонального менеджера для согласования индивидуальных условий – стоимость и сроки поверки устройства;
- использовать уникальный программный комплекс нашей организации, который позволяет сократить время формирования заявки на поверку и получать оперативную информацию заказчику о ходе поверке.
Аттестат аккредитации
Услуги оказываются на основании аттестата аккредитации в области обеспечения единства измерений на право выполнения работ (и оказания услуг) по поверке средств измерений № RA. RU. 311968 от 09 декабря 2016 г., выданный Федеральной службой по аккредитации (РОСАККРЕДИТАЦИЯ).
Поверка манометров: сроки, методика, правила

В системе нагнетания сжатого воздуха могут устанавливаться различные измерительные приборы, большое распространение получил манометр. Как и многие другие приборы, рассматриваемый должен проходить периодическое обслуживание. Только в этом случае можно быть уверенным в том, что оно прослужит в течение длительного периода, а полученные показания будут точными. Рассмотрим все особенности процедуры проверки манометра подробнее.
Поверка манометров: правила
Проводится проверка манометров должна исключительно с учетом основных правил и рекомендаций, так как допущенные ошибки могут привести к снижению точности изделия. Основные правила следующие:
- Для начала проводится осмотр манометра для определения состояния механизма. Повреждение устройства может указывать на то, что проводить поверку и вовсе не стоит. Некоторые из дефектов можно устранить, к примеру, провести замену защитного стекла, все зависит от особенностей конкретной модели манометра.
- Создаются наиболее приближенные условия к эксплуатационным. Примером можно назвать показатель влажности воздуха, атмосферного давления и температуры в помещении.
- Вначале проводимого испытания стрелка должна находится на нуле. За счет этого исключается вероятность допущения погрешности на момент проведения измерений.
Если нет возможности провести установку стрелки на ноль, то проводится регулировка устройства при помощи специального болта.
Сроки поверки манометров
Больше всего внимания уделяется установленным срокам. Назначение калибровки заключается в повышении точности снимаемых показателей. Среди особенностей отметим следующие моменты:
Самостоятельно провести рассматриваемую процедуру можно только в том случае, если прибор устанавливается в качестве элемента неответственных механизмов.
Нужна ли поверка манометров
Первичная поверка прибора проводится для определения показателя номинального давления. В дальнейшем контроль позволяет исключить вероятность снижения точности.
https://youtube.com/watch?v=DlKNiJjoRBg
Периодическая поверка манометра требуется для того, чтобы исключить вероятность его выхода из строя.
Некоторые системы не могут эксплуатироваться без применения манометра.
Если своевременно не проводить рассматриваемую процедуру можно столкнуться со следующим проблемами:
- Погрешность при снятии измерений. В некоторых случаях незначительная погрешность не снижает эффективность применения компрессора, в других точность давления важна.
- Существенно снижается эксплуатационный срок манометра. Некоторые повреждения механизма при его длительной эксплуатации могут привести к быстрому износу. Стоимость высокоточных манометров весьма велика.
- Есть вероятность появления утечки среды, которая станет причиной снижения давления в системе.
В заключение отметим, что при необходимости поверки измерительного прибора компрессора провести подобную работу можно самостоятельно. Для этого можно приобрести специальное устройство в специализированном магазине. Другие механизмы, к которым предъявляются более высокие требования, должны проверяться исключительно специалистом. После проведения процедуры должна ставится пломба.
, пожалуйста, выделите фрагмент текста и нажмите Ctrl+Enter.
Производство и хранение ПГС
В наше время газоаналитические средства измерений характеризуются стремительным развитием: на смену устаревшим приборам приходят газоаналитические приборы нового поколения, основанные на новой электронной базе и новых методах измерений. Растёт и количество видов мониторинга и контроля газовых сред, поэтому расширяется номенклатура и увеличивается количество газоаналитических приборов и растут объёмы газовых смесей с необходимыми метрологическими характеристиками.
ПГС для поверки газоаналитических СИ производятся на основе различных технических или чистых газов (аргон, водород, азот, гелий, метан, пропан, кислород, окись и двуокись углерода) путём их смешения. Чистые газы — это газы с наивысшей степенью очистки, достижимой в данные время. Газы для приготовления смесей должны проходить входной контроль.
Сосуды для производства смеси могут изготавливаться из металла, полимеров или стекла. Преимущества статического метода — это простота процедуры, при которой специальное оборудование почти не используется. Недостатком является малая пригодность для изготовления газовых смесей невысокой концентрации, связанная с сорбционным эффектом (поглощением газов) материалом, из которого изготовлена ёмкость.
2. Динамический метод. Используется для получения существенных объёмов поверочных газовых смесей. Применяя этот метод, можно получать газовые смеси с макро- и микроконцентрациями отдельных компонентов. Технологическая схема установки для получения смесей состоит из баллонов, откуда смешиваемые газы попадают в маностаты для регулирования заданных (равных или различных).
Из маностатов газы через стабилизатор расхода направляются в смеситель, после чего полученная поверочная газовая смесь поступает в газоанализатор. При помощи динамического метода можно выполнять непрерывную подготовку ПГС из нескольких компонентов, при этом смешение газов может быть многоступенчатым, а число ступеней практически неограниченным, зависящих только от технических характеристик дозирующих устройств.
Основным преимуществом получения ПГС динамическим методом являются:- возможность подачи непрерывного газового потока заданной концентрации, особенно при анализе нестабильных веществ;- возможность изготовления ПГС с давлениями, соответствующими рабочим давлениям для газоанализаторов.
https://www.youtube.com/watch?v=https:accounts.google.comServiceLogin
Все изготовленные поверочные газовые смеси подлежат утверждению и регистрации в Госреестре утверждённых образцов, который в качестве раздела входит в состав Госреестра СИ. Выпуск, поставка и хранение поверочных газовых смесей осуществляется в металлических баллонах вместимостью от 2 до 40 л под избыточным давлением, изготовленных из углеродистой, нержавеющей стали или алюминия. Гарантийные сроки хранения ГСО-ПГС ограничены — от полугода до 2 лет.
Требования безопасности
Что нужно знать о периодичности?
Законодатели на государственном уровне обязали все организации, которые владеют газоанализаторами, предоставлять эти приборы для поверки. Работы проводят представители Государственной метрологической службы и аттестованные службы частных организаций. Показатель периодичности для поверки датчика зависит от модели газоанализатора, закон же говорит о сроке от 6 до 12 месяцев, но не реже 1 раза в год. При этом некоторые приборы требуют осмотра как минимум раз в 6 месяцев.
Период для осмотра оборудования могут устанавливать местные структуры метрологической службы. Сотрудники Центров стандартизации и метрологии иногда злоупотребляют своим положением и увеличивают частоту осмотров. ЦСМ может установить полугодичный поверочный срок без весомых причин.
Выделяют также калибровку — комплекс мероприятий для газоанализаторов, которые применяют вне области государственного регулирования. Интервал между калибровками четко не устанавливают. В то же время в методике иногда указывают технически обоснованные рекомендации насчет сроков для следующей такой процедуры.
В чем суть методики поверочных работ?
Методика поверки представляет собой документ с подробно описанными операциями для подтверждения годности газоанализатора. Для разных марок и моделей подход отличается.
Выдержка из методики для газоанализаторов моделей 1800, 1900, 2200, 5100, 5200 компании Servomex Group Limited: первый пункт — операции поверки
В документ обычно включают 7 пунктов:
- Операции поверки. Речь идет о главных показателях, включая погрешности.
- Средства. К ним относят приборы и газовые смеси для опробования и определения метрологических характеристик.
- Требования безопасности.
- Условия для проведения.
- Подготовка.
- Проведение.
- Оформление результатов поверки. На этом этапе поверяющий составляет протокол и выдает документ-свидетельство.
Непосредственно поверку начинают с того, что присоединяют баллон с поверочным газом к вентилю регулировки. Потом к выходу подводят ротаметр. Последний присоединяют с адаптером для поверочных работ. Смесь затем пускают на вход газоанализатора, и когда прибор даст показания, их фиксируют.
Специалист рассчитает погрешность и определит время, которое ушло на установление показаний. Поверяющий сравнит показатели с нормативами и оформит результаты.
Поверка манометров на баллонах с газом
Когда говорят о проверке редукторов, на самом деле имеют в виду поверку манометров на бытовых газовых баллонах. Откроем секрет: в госреестре СИ РФ редукторы не указаны, а вот манометры как раз присутствуют. И когда приходят специалисты, они проверяют работу расходомеров – точно так же, как производят поверку газовых счетчиков.
Но следить за функционированием редуктора также необходимо, так эти два устройства работают в одной связке. Неисправность одного из элементов немедленно скажется на работе всей системы.
Устройство и назначение расходомера
На бытовые редукторы устанавливают манометры, соответствующие требованиям ГОСТ 2405-88. Главное назначение приборов – контроль над давлением в газовой системе. Чтобы точно установить рабочие параметры, используют два устройства – на входе и на выходе.
Конструкция расходомеров состоит из следующих элементов:
- прочный металлический корпус, с одной стороны закрытый стеклом;
- шкала с единицами измерения – Па, Мпа, кгс/см²;
- стрелка, окрашенная в яркий цвет;
- чувствительный элемент, находящийся внутри корпуса и приводящий в движение стрелку.
Элемент, отвечающий за вращение стрелки, может отличаться. Для среды с низким давлением используют мембранные устройства, но для газовых сетей чаще применяют пружинные модели – стрелка движется за счет сокращения или выпрямления пружины.
Чтобы пользователю было легче ориентироваться и регулировать параметры по необходимости, на шкалу наносят красную черту – как раз напротив меток рабочего давления.
Некоторые правила установки и эксплуатации:
Галерея изображений
Фото из
Манометр прямого действия на пропановом редукторе
Класс точности манометров для редуктора
Шкала для определения рабочего давления
Показания манометра доступны проверяющему
По цветовой маркировке бытовые манометры для газовых редукторов отличаются от аналогичного оборудования для других видов газа. Если кислородную арматуру окрашивают в голубой цвет, аммиачную – в желтый, ацетиленовую – в белый, то приборы для пропан-бутановых баллонов – только в красный цвет.
Периодичность и порядок поверки
Любое газовое оборудование подлежит регулярной поверке, даже если оно не используется или применяется сезонно, в летний период.
По нормам, существует первичная поверка – до ввода в эксплуатацию или после ремонта. Остальные мероприятия проводят периодически, планово или после аварии
Производить поверку могут только организации, имеющие аккредитацию или лицензию. В нашей стране – это чаще всего компании, так или иначе связанные с Газпромом – основным поставщиком газа. Обязанность собственника жилья, в котором установлены газовые баллоны, – вовремя оформить вызов и проконтролировать посещение специалиста.
По результатам поверки ставится знак или выдается свидетельство, которое нужно хранить до следующей процедуры. Специальный знак обычно наносят на корпус прибора, а если нет возможности – то ставят прямо в свидетельство.
Требования к знаку или документации, а также порядок проведения поверки определяет федеральный орган исполнительной власти.
Очень важно не нарушать сроки: поверку манометров и установку пломбы (клейма) производят раз в 12 месяцев. Если на манометре отсутствует клеймо или пломба, забыли вовремя вызвать представителя обслуживающей организации, «поведение» стрелки не соответствует реальной обстановке или видны явные механические повреждения – газовую плиту эксплуатировать нельзя!
Если на манометре отсутствует клеймо или пломба, забыли вовремя вызвать представителя обслуживающей организации, «поведение» стрелки не соответствует реальной обстановке или видны явные механические повреждения – газовую плиту эксплуатировать нельзя!
На промышленных объектах каждые полгода делают дополнительную проверку исправности оборудования контрольным манометром, после чего делают запись в журнал. Порядок, периодичность, сроки указывают в инструкции по безопасному обслуживанию баллонов
Требования к оборудованию, применяемому для огневых работ, гораздо строже. Например, газовые редукторы для баллонов с пропаном проверяют раз в квартал, а шланги – каждые 3 месяца.
Требования к проектированию, монтажу (установке), наладке приборов контроля содержания СО в помещениях котельных:
• В котельных с постоянным присутствием обслуживающего персонала датчики приборов контроля устанавливаются на расстоянии 150-180 см над уровнем пола или рабочей площадки там, где пребывание оператора вероятно и продолжительно во время рабочей смены. Это место за рабочим столом в зоне дыхания у фронта котла.
• В котельных, полностью автоматизированных, обслуживание которых осуществляется периодически, датчики приборов контроля устанавливаются у входа в помещение, а сигнализация от прибора контроля выводится на пульт дежурного оператора.
• При установке приборов (сигнализаторов/газоанализаторов) в котельных залах с несплошными междуэтажными перекрытиями каждый этаж следует рассматривать как самостоятельное помещение.
• На каждые 200 м2 помещения котельного зала следует устанавливать 1 датчик к прибору контроля, но не менее 1 датчика на каждое помещение.
• Датчики приборов контроля (сигнализаторов/газоанализаторов) необходимо устанавливать не ближе 2 м от мест подачи приточного воздуха и открытых форточек. При установке датчиков следует учитывать требования инструкции завода-изготовителя по монтажу, которые должны максимально исключить отрицательное влияние на точность измерения концентрации СО от движущихся потоков воздуха, относительной влажности в помещении котельной и тепловых облучений.
• Датчики приборов контроля (сигнализаторов/газоанализаторов) от попадания на них влаги необходимо защищать установкой защитного козырька.
• В запыленных помещениях необходимо предусматривать установку датчиков с фильтрами от пыли. Периодическая очистка загрязненных фильтров должна осуществляться в порядке, предусмотренном производственной инструкцией.
• Проектами вновь строящихся котельных должна предусматриваться установка приборов контроля СО в помещениях котельных.
• Установка приборов контроля (сигнализаторов/газоанализаторов) в действующих и реконструируемых котельных должна осуществляться владельцем этой котельной в сроки, согласованные с территориальным органом Госгортехнадзора России.
На российском рынке представлен ряд отечественных и зарубежных приборов для контроля СО и СН4, в разной степени отвечающих изложенным выше требованиям.
Выводы и полезное видео по теме
Обзор бытового газоанализатора, подключение, принцип действия, тестирование:
Поверка анализаторов газа и сигнализаторов загазованности с помощью современного оборудования:
Сами поверки не вызовут организационных сложностей, тем более если вопросам безопасности уделяли должное внимание. Устройство для определения состава газа признают годным после того, как основная и абсолютная погрешности окажутся приемлемыми. Вполне возможно, что сроки для поверки газоанализатора станут проблемным моментом
Потребителю следует добиваться годичного интервала вместо необоснованно короткого периода. Неудовлетворительный результат по метрологическим характеристикам тоже можно оспорить
Вполне возможно, что сроки для поверки газоанализатора станут проблемным моментом. Потребителю следует добиваться годичного интервала вместо необоснованно короткого периода. Неудовлетворительный результат по метрологическим характеристикам тоже можно оспорить.
Оставляйте свои комментарии, задавайте вопросы по теме статьи, делитесь опытом и обменивайтесь полезной информацией. Форма для связи расположена под статьей.





































